Dnes, když už víme jaké nanotechnologické vychytávky obsahují ty globalistické očkovací šmakulády, čímž se rázem ozřejmil i důvod oné očkovací hysterie a touhy všech zločineckých a zkorumpovaných vlád ovládaných globalisty tu jejich sračku do nás narvat za každou cenu, nastal čas na trochu dalších konspirací, které by se ovšem zanedlouho mohli ukázat jako zcela reálná součást naší stále temnější budoucnosti. Každý, kdo ještě i dnes pořád kolaboruje s covidovým režimem byť jen třeba tím, že se dusí v respiku někde v Lídlu, tak zároveň nevědomě (nebo někteří psychopaté možná dokonce zcela vědomě) nosí symbol svého otroctví – otrockou masku. Mnohokrát jsem tvrdila, že všichni kdo se podvolí fašistické buzeraci s hadrem na hubu si dobriovolně nasazují symbol svého vlastního otroctví. Jehož další nezbytností je právě to jejich zázračné covid-očkování. Očkování obsahující naprosto sci-fi technologie jakýchsi samoskládajících se komunikačních nanosítí, které chudáka co podlehl napojí na wi-fi. Tak až po toto místo to byla, ačkoliv pro mnohé stále stěží uvěřitelná, přesto však již zcela jasně prokázaná realita. Někomu možná připadá jako naprosté sci-fi, což však ještě rozhodně neznamená, že skutečně neexistuje, ona totiuž zcela prokazatelně existuje a dokonce je v těch jejich rádoby „vakcínách“. Nyní vstoupíme do ryze konspirativní oblasti. Součástí psychopatické vize globalistů o tom jejich Brave New World Order, tedy technokratické policejní diktatury jednosvětové vlády ovládající naprosto zotročený zbytek přeživšího lidstva po této vakcinační genocidě, je stav tzv.total control, absolutní kontroly společnosti a každého jednotlivce v ní. Součástí plánu je kromě zavedení vakcinačních pasů, také sloučení všech stávajících dokladů do jednoho, digitálního čipu, kdy v něm budou obsaženy všechny nanše stávající doklady, tedy občanský průkaz, řidičák, očkovací průkaz, cestovní pas a třeba i bankovní karta. A zde bychom měli spozornět, protože to je pro naše absolutní otroctví nesmírně důležité! Součástí tohoto unierzálního čipu budoucnosti, říkejme mu třeba podle projektu pana Gatese ID2020, který nám bude dříve či později implementován přímo do těla, a to ať se nám to líbí a nebo ne, prostě to tak brzy bude, bude zcela jistě i bankovní karta k našemu účtu. Protože součástí jejich plánu je rovněž zrušení současného peněžního systému a zavedení jednotné digitální měny. Čiliže zrušení hotovosti a zavedení pouze bezhotovostního platebníhi styku. A to v centralizované virtuální měně, která bude dle plánu digitálně-finančního komplexu jež za tím vším stojí, zcela programovatelná, tudíž třeba účelově, nebo časově vázaná a pod. Nebo prostrově, půjde ji „utratit“ pouze někde, prostě jen tam, kde vám to mocipáni dovolí, a pouze za to co vám dovolí. A pouze tehdy, budete-li zcela poslušní. A protože ta měna bude virtuální, a bude součástí čipu, který se dříve či později stane nedílnou součástí vašeho těla, je logické, že vaše otroctví bude dokonalé a na vždy…
Poněkud zlověstně v tomto kontextu pak působí dva skutečně hodně divné patenty, které byly skutečně podány na mezinárodní patentový úřad a jsou tedy platné, na které jsem narazila na alternativním mediálním webu The Burning Platform v kratičkém článku pojmenovaném trefně „divný patent“. Významové spojení s předchozí konspirativní úvahou nechám na každém čtenáří.
Patenty jsou dohledatelné na patentscope.wipo.int a jsou nakonec dva, které spolu vzájemně úzce souvisí. První patent se jmenuje „systém kryptoměny využívající údaje o činnosti těla“ a bylo mu přiděleno patentové číslo: US20200097951 byl přihlášen 21.9.2018 pod číslem 16138518 v kanceláři v USA a zveřejněn 26.3.2020, a byl podán jménem společnosti Microsoft Technology Licensing LCC. Druhý patent má naprosto stejný název „systém kryptoměny využívající údaje o činnosti těla“ má přiděleno patentové číslo WO2020060606 a byl podán mezinárodní přihláškou 20.6.2019 pod mezinárodní přihláškou číslo PCT/US2019/038084 a podávajícím byl opět MICROSOFT TECHNOLOGY LICENSING, LLC [US]/[US]. V patentu se říká toto (abstract): Činnost lidského těla spojená s úkolem poskytnutým uživateli může být použita v procesu těžby kryptoměnového systému. Server může poskytovat úkol zařízení uživatele, které je komunikativně připojeno k serveru. Senzor komunikativně připojený k nebo obsažený v zařízení uživatele může snímat tělesnou aktivitu uživatele. Údaje o tělesné aktivitě mohou být generovány na základě snímané tělesné aktivity uživatele. Systém kryptoměny komunikativně připojený k zařízení uživatele může ověřit, zda údaje o tělesné aktivitě splňují jednu nebo více podmínek stanovených systémem kryptoměn, a přidělit kryptoměnu uživateli, jehož údaje o tělesné aktivitě jsou ověřeny.

A popis patentu:
SYSTÉM KRYPTOMĚNY VYUŽÍVAJÍCÍ ÚDAJE O ČINNOSTI TĚLA
POZADÍ
[0001] Virtuální měna (také známá jako digitální měna) je prostředek směny realizovaný obecně prostřednictvím internetu, který není vázán na konkrétní vládou podporovanou „plochou“ (tištěnou) měnu, jako je americký dolar nebo euro, a typicky navržený tak, aby umožňoval okamžité transakce a bezhraniční převod vlastnictví. Jedním příkladem virtuální měny je kryptoměna, kde se kryptografie používá k zabezpečení transakcí a ke kontrole vytváření nových jednotek.
[0002] Existuje několik kryptoměn. Mezi nimi je nejznámější kryptoměna založená na blockchainu. Většina kryptoměn založených na blockchainu je decentralizovaná v tom smyslu, že nemá žádný centrální bod kontroly. Kryptoměna založená na blockchainu však může být také implementována v centralizovaném systému, který má centrální bod kontroly nad kryptoměnou. Bitcoin je jedním z příkladů kryptoměny založené na blockchainu. Je popsán v článku Satoshi Nakamota z roku 2008 s názvem „Bitcoin: Peer-to-Peer
Elektronický pokladní systém“.
[0003] Blockchain je datová struktura, která uchovává seznam transakcí a lze si ji představit jako distribuovanou elektronickou účetní knihu, která zaznamenává transakce mezi zdrojovým identifikátorem (identifikátory) a identifikátorem (identifikátory) cíle. Transakce jsou sdruženy do bloků a každý blok (kromě prvního bloku) odkazuje zpět na předchozí blok v blockchainu nebo je s ním spojen. Počítačové zdroje (nebo uzly atd.) udržují blockchain a kryptograficky ověřují každý nový blok a transakce obsažené v odpovídajícím bloku. Tento proces validace zahrnuje výpočetní řešení složitého problému, který je také snadno ověřitelný a někdy se nazývá „proof-of-work“. Tento proces se nazývá „těžba“. Těžba může být náhodný proces s nízkou pravděpodobností, takže k vyřešení výpočetně obtížného problému je potřeba mnoho pokusů a omylů. V souladu s tím může těžba vyžadovat obrovské množství výpočetní energie.
[0004] S ohledem na tyto a další obecné úvahy byla popsána následující provedení. Také, ačkoli byly diskutovány relativně specifické problémy, mělo by být zřejmé, že provedení by neměla být omezena na řešení specifických problémů identifikovaných v pozadí.
SOUHRN
[0005] Některá příkladná provedení předkládaného popisu mohou využívat aktivitu lidského těla spojenou s úkolem poskytnutým uživateli jako řešení problémů „těžby“ v systémech kryptoměn. Například mozková vlna nebo tělesné teplo vyzařované uživatelem, když uživatel provádí úkol poskytnutý poskytovatelem informací nebo služeb, jako je prohlížení reklamy nebo používání určitých internetových služeb, lze použít v procesu těžby. Namísto masivní výpočetní práce, kterou vyžadují některé konvenční kryptoměnové systémy, mohou být data generovaná na základě tělesné aktivity uživatele důkazem práce, a proto může uživatel nevědomě vyřešit výpočetně náročný problém. V souladu s tím mohou určitá příkladná provedení tohoto popisu snížit výpočetní energii pro proces těžby a také zrychlit proces těžby.
Jsou zde poskytnuty systémy, způsoby a hardwarové aspekty počítačově čitelných paměťových médií pro systém kryptoměny využívající data o aktivitě lidského těla. Podle různých provedení předkládaného vynálezu může server poskytovat úkol zařízení uživatele, které je komunikačně připojeno k serveru. Senzor komunikativně připojený k nebo obsažený v zařízení uživatele může snímat tělesnou aktivitu uživatele. Údaje o tělesné aktivitě mohou být generovány na základě snímané tělesné aktivity uživatele. Systém kryptoměny komunikativně připojený k zařízení uživatele může ověřit, zda údaje o tělesné aktivitě splňují nebo nesplňují jednu nebo více podmínek stanovených systémem kryptoměny, a přidělit kryptoměnu uživateli, jehož údaje o tělesné aktivitě jsou ověřeny.
Příklady jsou implementovány jako počítačový proces, výpočetní systém nebo jako výrobek, jako je zařízení, produkt počítačového programu nebo počítačově čitelné médium. Podle jednoho aspektu je produktem počítačového programu počítačové paměťové médium čitelné počítačovým systémem a kódující počítačový program obsahující instrukce pro provádění počítačového procesu.
[0008] Toto shrnutí je poskytnuto za účelem zavedení výběru konceptů ve zjednodušené formě, které jsou dále popsány níže v podrobném popisu. Toto shrnutí není zamýšleno k identifikaci klíčových znaků nebo podstatných znaků nárokovaného předmětu, ani není zamýšleno pro použití k omezení rozsahu nárokovaného předmětu.
STRUČNÝ POPIS VÝKRESŮ
[0009] Různá provedení v souladu s tímto popisem budou popsána s odkazem na výkresy, na kterých:
[0010] Obr. 1 znázorňuje příkladné prostředí, ve kterém mohou být praktikována některá příkladná provedení předkládaného vynálezu;
[0011] Obr. 2 ukazuje systémové schéma decentralizovaného systému kryptoměn podle
k příkladnému provedení předkládaného vynálezu;
[0012] Obr. 3 ukazuje vývojový diagram počítačem implementovaného způsobu podle příkladného provedení předkládaného vynálezu;
[0013] Obr. 4 ukazuje vývojový diagram operace pro generování dat o tělesné aktivitě podle příkladného provedení předkládaného vynálezu;
[0014] Obr. 5 ukazuje vývojový diagram operace pro ověřování dat o tělesné aktivitě podle příkladného provedení předkládaného vynálezu;
[0015] Obr. 6 znázorňuje blockchain a dva příkladné bloky blockchainu podle příkladného provedení předkládaného popisu;
[0016] Obr. 7 ukazuje vývojový diagram počítačem implementovaného způsobu využívajícího vektor nebo vložení podle dalšího příkladného provedení předkládaného vynálezu; a [0017] Obr. 8 znázorňuje příkladné blokové schéma počítače nebo systému zpracování, ve kterém mohou být implementovány procesy zahrnuté v systému, způsobu a produktu počítačového programu popsaného v tomto dokumentu.
Odpovídající číslice a symboly na různých obrázcích obecně odkazují na odpovídající části, pokud není uvedeno jinak. Obrázky jsou nakresleny tak, aby jasně ilustrovaly relevantní aspekty provedení a nejsou nutně nakresleny v měřítku.
PODROBNÝ POPIS PROVEDENÍ
[0019] V následujícím podrobném popisu se odkazuje na doprovodné výkresy, které tvoří jeho součást a na kterých jsou znázorněna konkrétní provedení, ve kterých může být vynález praktikován. Tato provedení jsou popsána dostatečně podrobně, aby umožnila odborníkům v oboru praktikovat vynález, a je třeba chápat, že mohou být použita i jiná provedení a že mohou být provedeny strukturální, logické a elektrické změny, aniž by došlo k odchýlení se od ducha a rozsahu tohoto vynálezu. vynález. Následující podrobný popis proto nelze brát v omezujícím smyslu a rozsah vynálezu je definován pouze připojenými nároky a jejich ekvivalenty. Stejné číslice na obrázcích odkazují na podobné součásti, které by měly být zřejmé z kontextu použití.
Termín „kryptoměna“ může znamenat digitální měnu, ve které se používají šifrovací techniky k regulaci generování jednotek měny a ověřování převodu finančních prostředků. Mnoho kryptoměn zahrnuje použití blockchainu k zajištění bezpečnosti a zabránění podvodům jako dvojité útraty. Některá provedení předkládaného popisu mohou být použita v alternativních mechanismech kryptoměn jiných než blockchain. Zde popisovaný systém, způsob a produkty počítačového programu mohou být aplikovány jak na centralizované, tak na
decentralizované kryptoměnové sítě nebo databáze.
[0021] Obr. 1 znázorňuje příkladné prostředí 100, ve kterém mohou být praktikována některá příkladná provedení předkládaného vynálezu. Vzorové prostředí 100 zahrnuje, ale není omezeno na, alespoň jeden úkolový server 110, komunikační síť 120, uživatelské zařízení 130, senzor 140 a kryptoměnový systém 150.
Úkolový server 110 může poskytovat jednu nebo více úloh uživatelskému zařízení 130 přes komunikační síť 120. Úkolovým serverem 110 může být například alespoň jeden webový server doručující nebo obsluhující webové stránky, aplikační server obsluhující aplikační operace mezi uživatelé a aplikace nebo databáze, cloudový server, databázový server, souborový server, servisní server, herní server implementující hry nebo služby pro hru a mediální server doručující média, jako je streamování videa nebo zvuku. Úlohy poskytované serverem 110 úloh budou podrobněji popsány níže.
Alternativně může kryptoměnový systém 150 poskytovat jednu nebo více úloh uživatelskému zařízení 130. Například v decentralizované kryptoměnové síti mohou být úlohy navrhovány uživatelskému zařízení 130 těžaři (např. výpočetní zdroje nebo uzly 210 na obr. 2). ). V dalším příkladu v centralizovaném kryptoměnovém systému může kryptoměnový server posílat úkoly do uživatelského zařízení 130.
Komunikační síť 120 může zahrnovat jakékoli drátové nebo bezdrátové připojení, internet nebo jakoukoli jinou formu komunikace. Ačkoli jedna síť 120 je identifikována na OBR. 1, komunikační síť 120 může zahrnovat libovolný počet různých komunikačních sítí mezi kterýmkoli ze serveru, zařízení, zdroje a systému znázorněného na OBR. 1 a 2 a/nebo jiné zde popsané servery, zařízení, prostředky a systémy. Komunikační síť 120 může umožňovat komunikaci mezi různými výpočetními zdroji nebo zařízeními, servery a systémy. Různé implementace komunikační sítě 120 mohou využívat různé typy sítí, například, ale bez omezení, počítačové sítě, telekomunikační sítě (např. celulární), mobilní bezdrátové datové sítě a jakoukoli kombinaci těchto a/nebo jiných sítí.
[0025] Uživatelské zařízení 130 může zahrnovat jakékoli zařízení schopné zpracovávat a ukládat data/informace a komunikovat přes komunikační síť 120. Uživatelské zařízení 130 může například zahrnovat osobní počítače, servery, mobilní telefony, tablety, notebooky, chytrá zařízení (např. hodinky nebo chytré televize). Příkladné provedení uživatelského zařízení 130 je znázorněno na OBR. 6.
[0026] Senzor 140 může být konfigurován pro snímání tělesné aktivity uživatele 145. Jak je znázorněno na OBR. 1, senzor 140 může být samostatnou komponentou od uživatelského zařízení 130 a může být provozně a/nebo komunikativně připojen k uživatelskému zařízení 130. Alternativně může být senzor 140 zahrnut a integrován do uživatelského zařízení 130. Uživatelské zařízení 130 může být například nositelné zařízení. zařízení mající v sobě senzor 140. Senzor 140 může přenášet informace/data do uživatelského zařízení 130. Senzor 140 může zahrnovat například, ale bez omezení, skenery nebo senzory funkční magnetické rezonance (fMRI), senzory elektroencefalografie (EEG), senzory blízké infračervené spektroskopie (NIRS). , monitory srdečního tepu, tepelné senzory, optické senzory, vysokofrekvenční (RF) senzory, ultrazvukové senzory, kamery nebo jakýkoli jiný senzor nebo skener, který dokáže měřit nebo snímat tělesnou aktivitu nebo skenovat lidské tělo. FMRI může například měřit tělesnou aktivitu detekcí změn spojených s průtokem krve. FMRI může používat magnetické pole a rádiové vlny k vytvoření detailních snímků těla (např. průtok krve v mozku k detekci oblastí aktivity). Materiál
(http://news.berkely.edu/20l l/09/22/brain-movies/) ukazuje jeden příklad toho, jak může fMRI měřit mozkovou aktivitu spojenou s vizuálními informacemi a generovat obrazová data.
Kryptoměnový systém 150 může obsahovat jeden nebo více procesorů pro zpracování příkazů a jednu nebo více pamětí uchovávajících informace v jedné nebo více kryptoměnových datových strukturách. V některých provedeních může být kryptoměnovým systémem 150 centralizovaný kryptoměnový systém nebo síť, například, ale bez omezení, server, který může být soukromě provozován entitou třetí strany nebo stejnou entitou, která provozuje task server 110. V některých provedeních může být kryptoměnovým systémem 150 veřejně přístupný síťový systém (např. distribuovaný decentralizovaný výpočetní systém).
Například, kryptoměnový systém 150 může být decentralizovaná síť 200, jako je decentralizovaná blockchain síť, zahrnující jeden nebo více výpočetních zdrojů 210, jak je ukázáno například na OBR. 2. V provedení podle OBR. 2, nemusí existovat žádná centrální autorita kontrolující kryptoměnovou síť 200. Data uložená v blockchainové síti 200, tj. veřejná účetní kniha, nemusí být uložena na centrálním místě jako celek. Blockchain síť 200 může zahrnovat množství procesorů pro zpracování příkazů a množství pamětí ukládajících informace v jedné nebo více blockchainových datových strukturách. Blockchainová síť 200 může udržovat jeden nebo více blockchainů s neustále rostoucími seznamy datových bloků, kde každý datový blok odkazuje na předchozí bloky na svém seznamu. Požadavek, aby každý blok odkazoval na všechny předchozí bloky v blockchainu, poskytuje řetězec bloků, který je odolný proti manipulaci a revizi, takže informace uložené v blockchainu jsou neměnné.
Výpočetní zdroje 210 mohou zahrnovat jakékoli zařízení, počítač, systém nebo jiné zařízení, které se připojilo k blockchainové síti 200 a tvoří uzel v blockchainové síti 200.
zdroje 210 mohou zahrnovat například, ale bez omezení, osobní počítače, servery, mobilní telefony, tablety, notebooky, chytrá zařízení (např. chytré hodinky nebo chytré televize) nebo jakékoli jiné zařízení schopné ukládat informace a komunikovat přes komunikační síť 120 V některých provedeních mohou být výpočetní zdroje 210 nepřidružené nebo vzájemně neznámé, kde například výpočetní zdroje 210 zůstávají anonymní. Každý výpočetní zdroj 210 může zahrnovat paměť 220, která ukládá kopii alespoň části veřejné knihy 230 blockchainové sítě 200. Výpočetní zdroje 210 mohou také provádět jeden nebo více programů pro provádění různých funkcí spojených s udržováním blockchainové sítě 200, včetně např. aktualizaci veřejné knihy 230, generování nových bloků nebo jakoukoli jinou podobnou funkci.
[0030] Pro účely ilustrace Obr. 1 znázorňuje uživatelské zařízení 130, které není zahrnuto v blockchainové síti 200. Uživatelské zařízení 130 však může být součástí blockchainové sítě 200 a může být implementováno jako jeden z výpočetních zdrojů 210 na OBR. 2.
Veřejná kniha 230 může ukládat jakékoli transakce provedené přes blockchainovou síť 200, včetně, ale bez omezení, například jakékoli transakce související s blockchainovou sítí 200 a probíhající v ní. Protože každý výpočetní zdroj 210 ukládá kopii alespoň části veřejná účetní kniha 230 blockchainové sítě 200, veřejná účetní kniha 230 může být nezávisle ověřena na přesnost kdykoliv porovnáním uložených kopií více výpočetních zdrojů 210.
Komunikace mezi výpočetními zdroji 210 může probíhat prostřednictvím komunikační sítě 120. Komunikační síť 120 z OBR. 2 může být stejnou sítí jako komunikace 120 z OBR. 1. V některých provedeních může každý výpočetní zdroj 210 komunikovat přímo mezi sebou navzájem. V některých provedeních některé výpočetní zdroje 210 nemusí být schopny komunikovat přímo mezi sebou. Například nejsou připojeny ke stejné komunikační síti 120. V tomto případě může komunikace související s blockchainovou sítí 200 mezi výpočetními zdroji 210 probíhat použitím jednoho nebo více zbývajících výpočetních zdrojů 210 jako prostředníka. V některých provedeních nemusí jeden nebo více výpočetních zdrojů 210 udržovat nepřetržité připojení k blockchainové síti 200 po celou dobu. Například výpočetní zdroj 210 může být připojen k blockchainové síti 200 pouze během určitého časového období každý den nebo může být připojen k blockchainové síti 200 pouze přerušovaně během dne. Kvůli decentralizované povaze blockchainové sítě 200 takové přerušované připojení jedním nebo více výpočetními zdroji 210 neovlivňuje celkový provoz blockchainové sítě 200, protože kopie veřejné knihy 230 jsou uloženy na více výpočetních zdrojích 210. Jakmile je odpojen výpočetní zdroj 210 se znovu připojí k blockchainové síti 200, odpojený výpočetní zdroj 210 může přijímat aktualizované kopie veřejné knihy 210 z jednoho nebo více výpočetních zdrojů 210, které byly připojeny k blockchainové síti 200.
[0033] Obr. 3 ukazuje vývojový diagram počítačem implementovaného způsobu podle příkladného provedení předkládaného vynálezu.
[0034] Způsob 300 začíná operací 310 znázorněnou na OBR. 3, kde úkolový server 110 poskytuje jeden nebo více úkolů zařízení 130 uživatele 145 přes komunikační síť 120. Úkoly zahrnují například, ale bez omezení, sledování nebo poslouchání informací (např. reklama) po určitou dobu pomocí služby (např. vyhledávač, chatovací robot, e-mail, sociální média/síťová služba a jakákoli internetová nebo webová služba), nahrávání nebo odesílání informací/dat na web, server nebo síť (např. web pro sdílení obsahu a cloudová síť) nebo server) nebo jakékoli jiné informace nebo služby, které mohou mít vliv na uživatele. V blockchainu mohou být úkoly zahrnuty jako transakce do veřejné knihy 230.
[0035] Kromě toho úkol(y) poskytovaný serverem 110 úloh může zahrnovat řešení testu pro odlišení lidského vstupu od vstupu stroje tak, aby ho mohli projít lidé, ale ne počítače, jako například Computer Automated Program to Tell Computers and Flumans Apart (CAPTCHA) a reCAPTCHA, což je systém podobný CAPTCHA navržený tak, aby zjistil, že uživatel počítače je člověk. Úloha může vyžadovat, aby uživatel 145 vyřešil ověřovací výzvu, například, aniž by byl výčet omezující, výzvu založenou na obrázku včetně instrukcí vyzývajících uživatele 145 k vyřešení výzvy prostřednictvím interakce s jedním nebo více obrázky.
[0036] Při operaci 320, když nebo poté, co uživatel 145 provede úkol (úkoly) poskytované serverem úloh 110, může senzor 140 snímat tělesnou aktivitu uživatele 145, což je tělesná odezva související s úkolem poskytovaným serverem úloh 110, a poté přenést snímanou tělesnou aktivitu uživatele 145 do uživatelského zařízení 130. Tělesná aktivita může zahrnovat například, ale bez omezení, záření emitované z lidského těla, mozkové aktivity, proudění tělesných tekutin (např. průtok krve), aktivitu orgánů nebo pohyb , pohyb těla a jakékoli další činnosti, které lze snímat a reprezentovat pomocí obrázků, vln, signálů, textů, čísel, stupňů nebo jakékoli jiné formy informací nebo dat. Příklady tělesného záření emitovaného z lidského těla mohou zahrnovat sálavé teplo těla, tepovou frekvenci nebo mozkové vlny. Mozkové vlny mohou zahrnovat například, ale bez omezení na uvedené, (i) gama vlny, které se podílejí na učení nebo paměťových úkolech, (ii) beta vlny, zapojené do logického myšlení a/nebo vědomého myšlení, (iii) alfa vlny, které mohou souviset s podvědomými myšlenkami, (iv) vlny theta, které mohou souviset s myšlenkami zahrnujícími hluboké a syrové emoce, (v) vlny delta, které se mohou podílet na spánku nebo hluboké relaxaci, nebo (vi)
elektroencefalogram (EEG), což může být měření používané k hodnocení elektrické aktivity v mozku, jako je hluboká koncentrace. Příklady pohybu těla mohou zahrnovat pohyb očí, pohyb obličeje nebo jakékoli jiné svalové pohyby. Kromě toho lze pomocí fMRI snímat mozkovou aktivitu. FMRI měří mozkovou aktivitu detekcí změn spojených s průtokem krve. Tato technika se opírá o skutečnost, že průtok krve mozkem a neuronální aktivace jsou spojeny. Když se používá určitá oblast mozku, zvyšuje se také průtok krve do této oblasti.
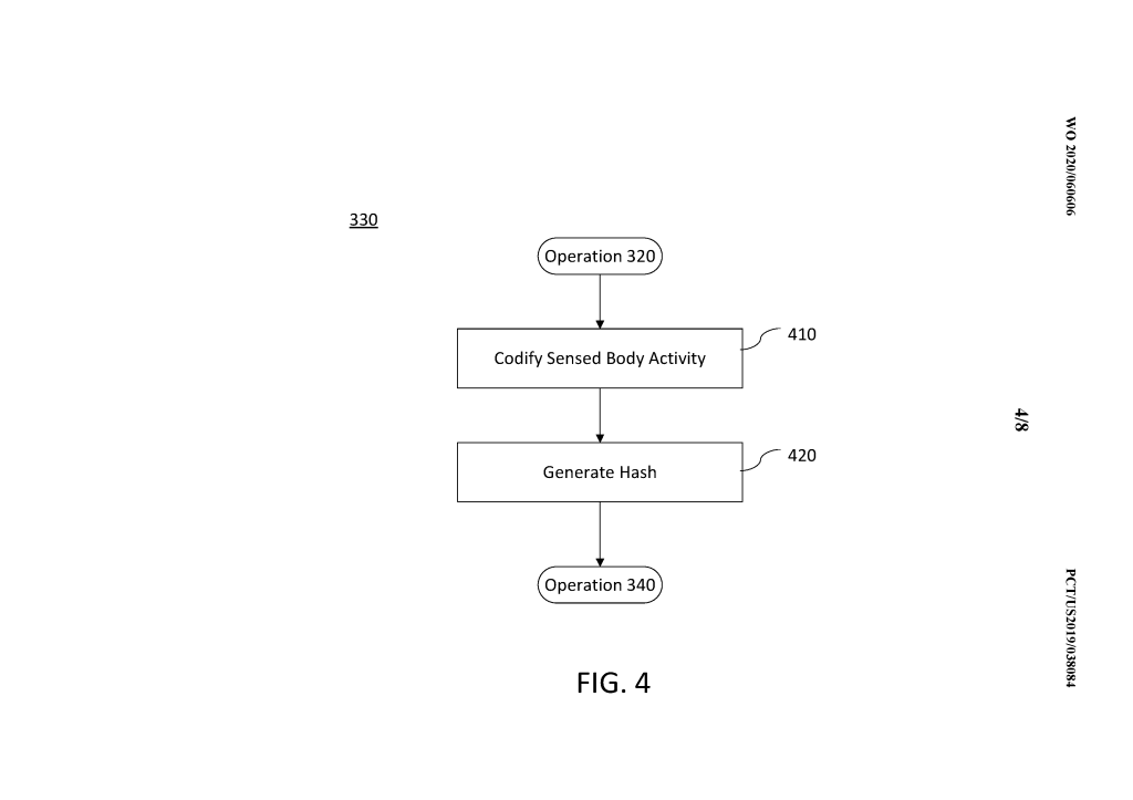
V operaci 330 uživatelské zařízení 130 generuje data o tělesné aktivitě na základě tělesné aktivity snímané senzorem 140. Operace 330 může být součástí těžebního procesu, což je proces pro řešení výpočetně obtížného problému. Jedno příkladné provedení operace 330 je znázorněno na OBR. 4. Jak je znázorněno na OBR. 4, operace 330 může zahrnovat operace 410 a 420.
Při operaci 410 může být tělesná aktivita snímaná senzorem 140 kodifikována v symbolických formách, jako jsou písmeno(a), číslice(a), symbol(y) a řetězec obsahující sekvenci znaků. V jednom příkladu může být tělesná aktivita kodifikována extrakcí jedné nebo více hodnot ze snímané tělesné aktivity, jako je minimální a/nebo maximální amplituda (amplitudy) nebo frekvence (frekvence) signálu tělesné aktivity (např. mozkové vlny) . V dalším příkladu může uživatelské zařízení 130 okénko a vzorkování snímané tělesné aktivity v průběhu času a vypočítat průměr ze vzorkovaných hodnot. V ještě dalším příkladu může uživatelské zařízení 130 generovat nezpracovaná data tělesné aktivity. V ještě dalším příkladu může uživatelské zařízení 130 filtrovat nezpracovaný signál tělesné aktivity pomocí jednoho nebo více filtrů pro aplikování filtrovaného signálu tělesné aktivity na audio hashovací funkci nebo algoritmus při operaci 420. Alternativně může být jakákoliv statistická hodnota (hodnoty) spojená s činnost lidského těla může být kodifikována z tělesné aktivity snímané senzorem 140.
V operaci 420 může být kodifikovaná tělesná aktivita převedena na šifrovaný výstup použitím šifrovacího algoritmu, jako je hašovací algoritmus nebo funkce. Například hashovací funkce zahrnují funkce, které mapují počáteční vstupní datovou sadu výstupní datové sady. Obecně může být hashovací funkcí jakákoli funkce, kterou lze použít k mapování dat libovolné velikosti na data pevné velikosti. Hašovací funkce umožňuje snadno ověřit, že některá vstupní data mapují na danou hašovací hodnotu, ale pokud jsou vstupní data neznámá, je záměrně obtížné je rekonstruovat (nebo jakékoli ekvivalentní alternativy) na základě znalosti uložené hašovací hodnoty. Hashovací algoritmus nebo funkce mohou být součástí těžebního softwaru nebo programu kryptoměnového systému nebo databáze.
Operace 420 může například používat funkci audio hash, kde se sčítají histogramy frekvencí kodifikované tělesné aktivity, nebo bitovou manipulaci, jako je funkce XOR každého segmentu histogramu s dalším nebo modulem prvočísla. , se provádí na kodifikované činnosti těla.
V některých provedeních lze použít analogovou hašovací funkci, kde samotné tělesné aktivity jsou hašemi. Například vlny nebo signály snímané senzorem 140, například, ale bez omezení, vlny alfa, beta, delta nebo gama ze senzoru EEG, mohou být transformovány na histogram pomocí transformačního algoritmu nebo vzorce, jako je Rychlá Fourierova transformace. (FFT) nebo jakýkoli jiný algoritmus nebo vzorec, který může konvoluovat, sčítat nebo násobit vlny nebo signály za účelem vytvoření histogramu. Hash může být samotný histogram. Například, hash může být výstupem FFT, kde každá složka je frekvenční pásmo a hodnota jsou počty odpovídající každému frekvenčnímu pásmu. V dalším příkladu může být požadovanými vlastnostmi to, že první dva frekvenční histogramy jsou co nejblíže nule, například za předpokladu, že existuje nějaká statistická záruka, že se to nemůže snadno stát.
Operace 420 je však volitelná. V určitých provedeních může uživatelské zařízení 130 bez šifrování nebo hašování kodifikované tělesné aktivity přenášet kodifikovanou tělesnou aktivitu generovanou v operaci 410 do kryptoměnového systému 150.
Ačkoli Obr. 3 znázorňuje, že operace 330, včetně operace 410 a 420, je zpracovávána uživatelským zařízením 130, alespoň jedna z operací 410 a 420 může být zpracovávána jiným zařízením (zařízeními), serverem, zdrojem nebo systémem, jako je task server 110, kryptoměna. systém 150 nebo jakýkoli jiný server. Uživatelské zařízení 130 může například generovat nezpracovaná data o snímané tělesné aktivitě, přenášet je do kryptoměnového systému 150, úkolového serveru 110 nebo jakéhokoli jiného serveru, a poté může kryptoměnový systém 150, úkolový server 110 nebo jakýkoli jiný server kódovat nebo hashovat nezpracovaná data o aktivitě snímaného těla.
[0044] S odkazem zpět na OBR. 3, při operaci 340 kryptoměnový systém 150 ověřuje, zda data tělesné aktivity uživatele 145 generovaná uživatelským zařízením 130 splňují jednu nebo více podmínek stanovených algoritmem kryptoměnového systému 150. Podmínky mohou být nastaveny simulací lidské tělesné aktivity napříč všemi tělesné aktivity, které mohou představovat hashe. Algoritmy strojového učení lze použít k simulaci tělesných aktivit a nastavení podmínek pro platné tělesné aktivity, například, ale bez omezení na, pomocí generativních nepřátelských sítí.
[0045] V některých provedeních kryptoměnový systém 150 ověřuje, zda data o tělesné aktivitě uživatele 145 (např. kód tělesné aktivity vygenerovaný při operaci 410 nebo hash tělesné aktivity vygenerovaná při operaci 420) mohou představovat, že uživatel 145 je v cílovém rozsahu. Cílový rozsah lze určit pomocí množství kognitivního úsilí, které uživatel 145 vyžaduje k provedení úkolu poskytovaného serverem úloh 110. Například pro ověření, zda hash tělesné aktivity uživatele 145 může kryptoměnový systém 150 určit např. mimo jiné, (i) zda má hash tělesné aktivity uživatele 145 specifický určitý vzor, opakované vzory, matematické vlastnosti nebo počet úvodních čísel, znaků nebo řetězců (např. úvodních nul) stanovený systémem kryptoměny 150, nebo (ii) zda je hash tělesné aktivity uživatele 145 menší než aktuální cílová hodnota. Příklady číselných vzorů nastavených systémem 150 kryptoměny mohou být vzor, který nejprve určité číslice hashe tvoří prvočíslo, nebo vzor, kdy číslo, které je vypočítáno aplikací prvních určitých číslic hashe na přednastavený vzorec, tvoří prvočíslo. číslo (Například číslo vypočítané přičtením nebo odečtením předem určeného čísla nebo čísla nastaveného systémem 150 kryptoměny k prvním čtyřem číslicím hašování tvoří prvočíslo). Vzory opakujících se čísel mohou obsahovat opakující se číslo (např. úvodní nuly, jedničky uprostřed křížku, dvojky na posledních čtyřech číslicích křížku a jakákoli opakující se čísla obsažená v křížku) a opakující se číselnou řadu (např. úvodní opakování dvojice číslic, například „121212“ nebo trojice „123123“). Pokud má hash tělesné aktivity uživatele 145 požadovaný vzor(y) nebo je v cílovém rozsahu, pak je důkaz práce nebo důkaz sázky považován za vyřešený a tento hash může být nový blok. Cílový rozsah nebo hodnotu lze periodicky měnit, aby byla zachována předem zvolená úroveň obtížnosti, i když to není nutné. Cílová hodnota může být například nepřímo úměrná obtížnosti. Změnou obtížnosti lze udržet zhruba konstantní rychlost generování bloků.
Cílový rozsah platné tělesné aktivity může být nastaven pomocí statistických dat, takže normální tělesná aktivita, aktivita, ke které může snadno dojít, nebo předstíraná tělesná aktivita nemohou být ověřeny. Například, cílový rozsah platné tělesné aktivity může být vybrán z rozsahu, který těžaři nemohou předstírat svou vlastní tělesnou aktivitou, aby splnili cílový rozsah pro prokázání a ověření důkazu o práci.
Ověření v operaci 340 může navíc zahrnovat odfiltrování neplatných úkolů, chybně tvarovaných dat (syntaktické chyby) nebo dat odeslaných neoprávněným uživatelem nebo generovaných systémem strojového učení. Například kryptoměnový systém 150 může z uživatelského zařízení 130 přijímat data o tělesné aktivitě vygenerovaná před použitím hašovacího algoritmu, tato data znovu hašovat a poté porovnat znovu hašovaná data s hašováním přijatým z uživatelského zařízení 130 pro kontrolu, zda tělo údaje o aktivitě jsou generovány na základě lidských, nikoli náhodných dat generovaných počítačem. Voxel(y) obrazu fMRI může být příkladem údajů o tělesné aktivitě generovaných před použitím hashovacího algoritmu.
Jedno příkladné provedení operace 340 je znázorněno na OBR. 5. V operaci 510 může kryptoměnový systém 150 zkontrolovat, zda hash tělesné aktivity, přijatý od
uživatelské zařízení 130, je v cílovém rozsahu nastaveném kryptoměnovým systémem 150, nebo obsahuje požadovaný vzor nastavený kryptoměnovým systémem 150. Pokud je hash tělesné aktivity v cílovém rozsahu nebo má požadovaný vzor nastavený kryptoměnovým systémem 150, kryptoměna systém 150 znovu zahašuje data o tělesné aktivitě, vygenerovaná před použitím hašovacího algoritmu a přenesená s hašováním tělesné aktivity z uživatelského zařízení 130 (operace 520), a poté porovná znovu hašovaná data s hašováním tělesné aktivity, přijatým z uživatelské zařízení 130 (operace 530). Pokud jsou znovu hašovaná data identická s hashem tělesné aktivity, přijatým z uživatelského zařízení 130, kryptoměnový systém 150 pokračuje do operace 350. Pokud však v operaci 510 určí, že hash dat o tělesné aktivitě je mimo cílový rozsah nebo nezahrnuje požadovaný vzor nastavený kryptoměnovým systémem 150, nebo pokud se v operaci 530 určí, že přehašovaná data neodpovídají hash tělesné aktivity, může být provedena operace 310 nebo 320.
[0049] Při operaci 350, když data o tělesné aktivitě vysílaná z uživatelského zařízení 130 splňují jednu nebo více podmínek stanovených kryptoměnovým systémem 150, kryptoměnový systém 150 udělí kryptoměnu uživateli 145. Například kryptoměnový systém 150 udělí uživateli 145 částku kryptoměnu odpovídající úkolu provedenému uživatelem 145. Kromě toho může kryptoměnový systém 150 udělit kryptoměnu vlastníkovi nebo provozovateli úkolového serveru 110 jako odměnu za poskytování služeb, jako jsou vyhledávače, chatboti, aplikace nebo webové stránky, nabízející uživatelům přístup k bezplatný k placenému obsahu (např. streamování videa a zvuku nebo elektrické knihy) nebo sdílení informací nebo dat s uživateli.
Například v blockchainovém kryptoměnovém systému je v operaci 340 alespoň jeden z výpočetních zdrojů 210 z OBR. 2 ověřuje, zda je hash dat tělesné aktivity uživatele 145 platný. V operaci 350, když je hash dat tělesné aktivity uživatele 145 ověřen v operaci 340, výpočetní zdroj 210 z OBR. 2 může přidat nový blok do blockchainu. Nový blok může obsahovat počet jednotek kryptoměny přiřazený k adrese uživatele. Nový blockchain s dodatečným přidaným blokem je vysílán kolem kryptoměnové sítě 150. Výpočetní zdroj 210, který prováděl operace 340 a 350, může být také odměněn transakčními poplatky a/nebo kryptoměnou.
[0051] Obr. 5 znázorňuje blockchain 500 a dva vzorové bloky 510, 520 blockchainu 500 podle vzorových provedení tohoto popisu. Typicky je „blockchain“ chápán jako datová struktura obsahující sérii bloků, kde každý blok obsahuje data odpovídající jedné nebo více transakcím, hashovaná spolu s propojovacími daty, jako je hash bezprostředně předcházejícího bloku. V provedení tohoto popisu může být transakcí úkol prováděný uživatelem 145. Řetězec může
pak použít k vytvoření hlavní knihy, což je obvykle databáze pouze pro připojení. Jakmile jsou data vložena do bloku řetězce, je tento záznam v podstatě nevyvratitelný, protože jakákoli manipulace s daty by se odrazila ve výpočtech zřetězených hashů, a je tedy snadno detekovatelná.
Blockchain 500 může představovat veřejně distribuovatelnou účetní knihu transakcí, jako je účetní kniha 230 z OBR. 2 a může zahrnovat množství bloků. Každý blok, jako je blok 510 a blok 520, může obsahovat data týkající se posledních transakcí. Například úkol provedený uživatelem 145 a počet jednotek kryptoměny udělených uživateli 145 a/nebo obsah propojující data, která spojují jeden blok 520 s předchozím blokem 510, a data důkazu práce, například ověřená hash tělesné aktivity, který zajišťuje, že stav blockchainu 500 je platný a je schválen/ověřen většinou systému vedení záznamů. Příkladná provedení bloku 520 blockchainu 500 mohou zahrnovat aktuální hash, předchozí hash předchozího bloku 510, transakci. Předchozí hash je hash z bezprostředně předcházejícího bloku, který zajišťuje, že každý blok je neměnně svázán s předchozím blokem. Hash předchozího bloku 510 může být zahrnut do bloku 520, čímž se blok 520 propojí s předchozím blokem 510.
Transakční informace nelze upravit, aniž by si toho všiml alespoň jeden z výpočetních zdrojů 210, takže blockchainu 500 lze důvěřovat při ověřování transakcí probíhajících na blockchainu 500.
V některých provedeních mohou být pro data tělesné aktivity použity vektory nebo vložení. Obr. 7 ukazuje vývojový diagram příkladného provedení počítačem implementovaného způsobu využívajícího vektory (nebo vkládání). Jak je podrobně popsáno výše s ohledem na OBR. 3, server úloh 110 nebo kryptoměnový systém/síť 150, jako je centrální kryptoměnový server nebo výpočetní zdroj (nebo uzel) 210, může provádět operaci 310, kde je uživatelskému zařízení 130 navržena jedna nebo více úloh přes komunikační síť 120 a senzor 140. může provádět operaci 320, kde senzor 140 snímá nebo měří tělesnou aktivitu uživatele 145. Senzor 140 (nebo uživatelské zařízení 130) může generovat data tělesné aktivity ve formě obrázků, vln, signálů, čísel, znaků, řetězců nebo jakýchkoli jiných forma, která může reprezentovat činnost těla.
[0055] Při operaci 710 uživatelské zařízení 130 vytváří jeden nebo více vektorů (nebo vložení), jako je pole čísel s pohyblivou řádovou čárkou, z dat tělesné aktivity generovaných senzorem 140 (nebo uživatelským zařízením 130). Algoritmus uložený v uživatelském zařízení 130 nebo v jakémkoli zařízení, serveru, systému nebo síti komunikačně připojené k uživatelskému zařízení 130 prostřednictvím komunikační sítě 120 může transformovat data tělesné aktivity generované senzorem 140 (nebo uživatelským zařízením 130) do jednoho nebo více vektory. Například obraz mozku
generované skenerem fMRI mohou být vloženy do algoritmu strojového učení počítačového vidění, například, ale s omezením na konvoluční neuronovou síť, a algoritmus strojového učení může generovat jeden nebo více vektorů z jednoho nebo více voxelů obrazu mozku. V některých provedeních může být při operaci 710 generován jeden jediný vektor. V jiných provedeních může být vytvořena série vektorů vzorkováním v průběhu času, když uživatel 145 provádí úkol(y). Údaje o tělesné aktivitě (např. voxely obrazu mozku) a/nebo vektory (nebo vložení) mohou generovat „důkaz práce“ a být přenášeny do kryptoměnového systému/sítě 150.
Kromě toho mohou vektory volitelně zahrnovat jeden nebo více vektorů vztahujících se k úkolu (úkolům), například, aniž by byl výčet omezující, vyhledávací termíny, které uživatel 145 použil nebo identifikoval v reklamě, kterou uživatel 145 viděl.
V operaci 720 mohou být vektory generované v operaci 710 převedeny na šifrovaný výstup použitím šifrovacího algoritmu, jako je hashovací algoritmus nebo funkce, jak bylo vysvětleno výše s ohledem na operaci 420 na OBR. 4. Například vektor(y) lze hašovat jako bajty pomocí hašovacího algoritmu, jako je Secure Hash Algorithm (SHA)-l, SHA-256, SHA-384, SHA-512 a Message Digest (MD)- 5.
Operace 720 je však volitelná. V některých provedeních může uživatelské zařízení 130 přenášet vektor(y) tělesné aktivity vytvořené v operaci 710 do kryptoměnového systému 150 bez jejich šifrování nebo hašování.
[0059] Při operaci 730 přijímá kryptoměnový systém 150 z uživatelského zařízení 130 data tělesné aktivity uživatele 145 (např. voxely obrazu mozku) a/nebo vektor(y) (nebo hash) těla. aktivita uživatele 145.
V operaci 740 kryptoměnový systém 150 zkontroluje, zda vektor(y) přijatý z uživatelského zařízení 130 mají jednu nebo více matematických vlastností nastavených kryptoměnovým systémem/sítí 150. Například kryptoměnový systém 150 může určit, zda vektor(y) tělesné aktivity mají podobnost (nebo vztah) s legitimním vektorem (nebo základním vektorem) nastaveným algoritmem kryptoměnového systému 150. Podobnost může být měřena nebo vypočtena pomocí například, ale bez omezení na, kosinové podobnosti, Euklidovská vzdálenost, Manhattanská vzdálenost, Minkowského vzdálenost a Jaccardova podobnost. Legitimní vektor může být nastaven na základě předpokladu, že vektory tělesných aktivit lidí, kteří plní stejný úkol, mají určitý stupeň podobnosti. Kryptoměnový systém 150, jako je centrální kryptoměnový server/síť nebo výpočetní zdroj (nebo uzel) 210 z OBR. 2, může rozhodnout o legitimním vektoru a podobnosti. Například těžaři jako výpočetní zdroje (nebo uzly) 210 z OBR. 2 mohou sdílet svůj důkaz o práci včetně například, ale bez omezení, vektorů tělesných aktivit, s kryptoměnovou sítí 150 a rozhodnout o legitimním vektoru a podobnosti výpočtem průměru důkazu o práci (např. těžiště nebo vážený průměr vektorů a standardní odchylka).
Pokud vektor(y) přijatý z uživatelského zařízení 130 mají matematickou vlastnost (vlastnosti) nastavenou kryptoměnovým systémem/sítí 150, kryptoměnový systém/síť 150 přepracuje data o tělesné aktivitě, vysílaná z uživatelského zařízení 130 (operace 750 a poté porovnává přehašovaný výstup s vektory (nebo hash) přijatými z uživatelského zařízení 130 (operace 760). Například počítačový zdroj (nebo uzel) 210 z OBR. 2 může přepracovat fMRI voxely, vysílané z uživatelského zařízení 130, do vektoru, a poté porovnat přehašovaný vektor s vektorem přijatým z uživatelského zařízení 130 pro kontrolu, zda jsou data tělesné aktivity generována na základě lidských, nikoli náhodných počítačově generovaných dat. Při určování v operaci 740, že vektor(y) přijaté uživatelské zařízení 130 nesplňují matematické vlastnosti nastavené kryptoměnovým systémem/sítí 150, nebo při určování v operaci 760, že přehašovaný výstup neodpovídá vektoru(ům) ( nebo hash) přijatý z uživatelského zařízení 130, operace 310 nebo 320 může pokračovat.
Pokud je znovu hašovaný výstup identický s vektorem(y) (nebo hashem) přijatým z uživatelského zařízení 130, kryptoměnový systém/síť 150 přidělí kryptoměnu uživateli 145, jak je podrobně popsáno výše s ohledem na operaci 350. Například, v blockchainovém kryptoměnovém systému, těžař, jako je jeden z výpočetních zdrojů (nebo uzlů) 210 z OBR. 2, která provedla validaci údajů o tělesné aktivitě, může přidat nový blok, který obsahuje údaje o tělesné aktivitě, vektor(y) (nebo hash) a/nebo počet jednotek kryptoměny přiřazených k adrese uživatele. , do blockchainu, vysílat nový blockchain s novým blokem kolem kryptoměnové sítě 150 a může být odměněn transakčními poplatky a/nebo kryptoměnou.
[0063] Obr. 8 znázorňuje schéma příkladného počítače nebo systému zpracování, který může implementovat jakýkoli ze systémů, způsobů a produktů počítačových programů, jako je server úloh 110, uživatelské zařízení 130, kryptoměnový systém 150 a výpočetní zdroje 210, zde popsané v jednom provedení toto zveřejnění. Počítačový systém je pouze jedním příkladem vhodného systému zpracování a není zamýšleno jako navrhování jakéhokoli omezení, pokud jde o rozsah použití nebo funkčnost provedení zde popsané metodologie. Znázorněný procesní systém může být provozován s mnoha dalšími obecnými nebo speciálními účelovými prostředími nebo konfiguracemi výpočetního systému. Příklady dobře známých počítačových systémů, prostředí a/nebo konfigurací, které mohou být vhodné pro použití se systémem zpracování znázorněným na OBR. 8 může mimo jiné zahrnovat systémy osobních počítačů, serverové počítačové systémy, tenké klienty, tlusté klienty, kapesní nebo přenosné zařízení, víceprocesorové systémy, systémy založené na mikroprocesorech, set top boxy, programovatelnou spotřební elektroniku, síťové počítače, minipočítačové systémy , sálové počítačové systémy a distribuovaná cloudová výpočetní prostředí, která zahrnují kterýkoli z výše uvedených systémů nebo zařízení a podobně.
Počítačový systém může být popsán v obecném kontextu spustitelných instrukcí počítačového systému, jako jsou programové moduly, které jsou vykonávány počítačovým systémem. Obecně mohou programové moduly zahrnovat rutiny, programy, objekty, komponenty, logiku, datové struktury a tak dále, které provádějí konkrétní úkoly nebo implementují konkrétní abstraktní datové typy. Počítačový systém může být provozován v prostředí distribuovaného cloud computingu, kde úkoly provádějí vzdálená zpracovatelská zařízení, která jsou propojena komunikační sítí. V prostředí distribuovaného cloud computingu mohou být programové moduly umístěny na paměťových médiích lokálního i vzdáleného počítačového systému včetně paměťových úložných zařízení.
Komponenty počítačového systému 800 mohou zahrnovat, ale nejsou omezeny na jeden nebo více procesorů nebo procesních jednotek 810, systémovou paměť 820 a sběrnici 830, která spojuje různé systémové komponenty včetně systémové paměti 820 s procesorem 810. Procesor 810 může zahrnují softwarový modul 815, který provádí zde popsané způsoby. Modul 815 může být naprogramován do integrovaných obvodů procesoru 810 nebo načten z paměti 820, paměťového zařízení 840 nebo sítě 850 nebo jejich kombinací.
Sběrnice 830 může představovat jednu nebo více z několika typů sběrnicových struktur, včetně paměťové sběrnice nebo paměťového řadiče, periferní sběrnice, zrychleného grafického portu a procesoru nebo místní sběrnice využívající kteroukoli z řady sběrnicových architektur. . Jako příklad, a nikoli jako omezení, takové architektury zahrnují sběrnici Industry Standard Architecture (ISA), sběrnici Micro Channel Architecture (MCA), sběrnici Enhanced ISA (EISA), místní sběrnici Video Electronics Standards Association (VESA) a propojení periferních součástí ( sběrnice PCI).
Počítačový systém 800 může obsahovat různá média čitelná počítačovým systémem. Takovým médiem může být jakékoli dostupné médium, které je přístupné počítačovému systému, a může zahrnovat jak energeticky nezávislá, tak energeticky nezávislá média, vyměnitelná a nevyměnitelná média.
Systémová paměť 820 může obsahovat média čitelná počítačovým systémem ve formě volatilní paměti, jako je paměť s náhodným přístupem (RAM) a/nebo vyrovnávací paměť nebo jiné. Počítačový systém 800 může dále zahrnovat další odnímatelné/neodstranitelné těkavé/neodstranitelné
nestálá paměťová média počítačového systému. Pouze jako příklad může být poskytnuto paměťové zařízení 840 pro čtení a zápis na nevyjímatelné, energeticky nezávislé magnetické médium (např. „pevný disk“). Ačkoli to není znázorněno, jednotka magnetického disku pro čtení a zápis na vyměnitelný, energeticky nezávislý magnetický disk (např. „disketa“) a jednotka optického disku pro čtení nebo zápis na vyměnitelný, může být poskytnut nestálý optický disk, jako je CD-ROM, DVD-ROM nebo jiné optické médium. V takových případech může být každý připojen ke sběrnici 630 jedním nebo více rozhraními datových médií.
Počítačový systém 800 může také komunikovat s jedním nebo více externími zařízeními 860, jako je klávesnice, ukazovací zařízení, displej 870 atd.; jedno nebo více zařízení, která uživateli umožňují interakci s počítačovým systémem; a/nebo jakákoli zařízení (např. síťová karta, modem atd.), která umožňují počítačovému systému komunikovat s jedním nebo více jinými výpočetními zařízeními. Taková komunikace může probíhat přes vstupní/výstupní (I/O) rozhraní 880.
Ještě stále může počítačový systém 800 komunikovat s jednou nebo více sítěmi 850, jako je místní síť (LAN), obecná rozlehlá síť (WAN) a/nebo veřejná síť (např. internet) prostřednictvím sítě. adaptér 855. Jak je znázorněno, síťový adaptér 855 komunikuje s ostatními komponentami počítačového systému přes sběrnici 830. Mělo by být zřejmé, že ačkoli to není znázorněno, mohou být ve spojení s počítačovým systémem použity další hardwarové a/nebo softwarové komponenty. Příklady zahrnují, ale nejsou omezeny na: mikrokód, ovladače zařízení, redundantní procesorové jednotky, pole externích diskových jednotek, systémy RAID, páskové jednotky a systémy pro archivaci dat atd.
[0071] Jak bude oceněno odborníkem v oboru, aspekty tohoto popisu mohou být ztělesněny jako systém, způsob nebo produkt počítačového programu. V souladu s tím mohou mít aspekty tohoto popisu formu zcela hardwarového provedení, zcela softwarového provedení (včetně firmwaru, rezidentního softwaru, mikrokódu atd.) nebo provedení kombinující softwarové a hardwarové aspekty, na které lze obecně odkazovat. zde jako „okruh“, „modul“ nebo „systém“. Kromě toho mohou mít aspekty tohoto zveřejnění podobu produktu počítačového programu ztělesněného v jednom nebo více počítačově čitelných médiích, které mají v sobě začleněný počítačově čitelný programový kód.
Může být použita jakákoliv kombinace jednoho nebo více počítačově čitelných médií. Počítačem čitelné médium může být počítačově čitelné signální médium nebo počítačově čitelné paměťové médium. Počítačově čitelným paměťovým médiem může být například, aniž by byl výčet omezující, elektronický, magnetický, optický, elektromagnetický, infračervený nebo polovodičový systém, přístroj nebo zařízení, nebo jakákoli vhodná kombinace výše uvedeného. Konkrétnější příklady (neúplný seznam) počítačově čitelného paměťového média by zahrnovaly
následující: přenosná počítačová disketa, pevný disk, paměť s náhodným přístupem (RAM), paměť pouze pro čtení (ROM), vymazatelná programovatelná paměť pouze pro čtení (EPROM nebo Flash paměť), přenosný kompaktní disk pouze pro čtení paměť (CD-ROM), optické paměťové zařízení, magnetické paměťové zařízení nebo jakákoli vhodná kombinace výše uvedeného. V kontextu tohoto dokumentu může být počítačově čitelné paměťové médium jakékoli hmotné médium, které může obsahovat nebo ukládat program pro použití systémem, přístrojem nebo zařízením pro provádění instrukcí nebo ve spojení s nimi.
Počítačově čitelné signálové médium může obsahovat šířený datový signál s počítačem čitelným programovým kódem, který je v něm začleněn, například v základním pásmu nebo jako součást nosné vlny. Takový šířený signál může mít jakoukoli z různých forem, včetně, ale bez omezení na ně, elektromagnetického, optického nebo jakékoli jejich vhodné kombinace. Počítačově čitelným signálním médiem může být jakékoli počítačově čitelné médium, které není počítačově čitelným paměťovým médiem a které může komunikovat, šířit nebo přenášet program pro použití nebo ve spojení s instrukčním systémem, přístrojem nebo zařízením.
Počítačově čitelné signálové médium může obsahovat šířený datový signál s počítačem čitelným programovým kódem, který je v něm začleněn, například v základním pásmu nebo jako součást nosné vlny. Takový šířený signál může mít jakoukoli z různých forem, včetně, ale bez omezení na ně, elektromagnetického, optického nebo jakékoli jejich vhodné kombinace. Počítačově čitelným signálním médiem může být jakékoli počítačově čitelné médium, které není počítačově čitelným paměťovým médiem a které může komunikovat, šířit nebo přenášet program pro použití nebo ve spojení s instrukčním systémem, přístrojem nebo zařízením.
Programový kód ztělesněný na počítačově čitelném médiu může být přenášen za použití jakéhokoli vhodného média, včetně, ale bez omezení, bezdrátového, drátového, optického kabelu, RF, atd., nebo jakékoli vhodné kombinace výše uvedeného.
Počítačový programový kód pro provádění operací podle aspektů tohoto vynálezu může být napsán v jakékoli kombinaci jednoho nebo více programovacích jazyků, včetně objektově orientovaného programovacího jazyka, jako je Java, Smalltalk, C++ nebo podobně, a běžných procedurálních programovacích jazyků. , jako je programovací jazyk „C“ nebo podobné programovací jazyky, skriptovací jazyk, jako je Perl, VBS nebo podobné jazyky, a/nebo funkční jazyky jako Lisp a ML a logicky orientované jazyky, jako je Prolog. Programový kód se může provádět zcela na počítači uživatele, částečně na počítači uživatele, jako samostatný softwarový balíček, částečně na počítači uživatele a částečně na vzdáleném počítači nebo zcela na vzdáleném počítači nebo serveru. V druhém scénáři může být vzdálený počítač připojen k počítači uživatele prostřednictvím jakéhokoli typu sítě, včetně místní sítě (LAN) nebo rozlehlé sítě (WAN), nebo může být připojení vytvořeno k externímu počítači (např. například prostřednictvím internetu pomocí poskytovatele internetových služeb).
Aspekty předkládaného zveřejnění jsou popsány s odkazem na ilustrace vývojového diagramu a/nebo bloková schémata způsobů, zařízení (systémů) a počítačových programových produktů podle některých provedení předkládaného zveřejnění. Rozumí se, že každý blok ilustrací vývojového diagramu a/nebo blokových diagramů a kombinace bloků ve znázorněních vývojového diagramu a/nebo blokových diagramů mohou být implementovány instrukcemi počítačového programu. Tyto instrukce počítačového programu mohou být poskytnuty procesoru univerzálního počítače, speciálního počítače nebo jiného programovatelného zařízení pro zpracování dat za účelem vytvoření stroje, takže instrukce, které se provádějí prostřednictvím procesoru počítače nebo jiného programovatelného zařízení pro zpracování dat , vytvořit prostředky pro implementaci funkcí/aktů specifikovaných ve vývojovém diagramu a/nebo bloku nebo blocích blokového diagramu.
Tyto instrukce počítačového programu mohou být také uloženy na počítačově čitelném médiu, které může nasměrovat počítač, jiný programovatelný přístroj pro zpracování dat nebo jiná zařízení tak, aby fungovaly určitým způsobem, takže instrukce uložené na počítačově čitelném médiu vytvářejí předmět výroby včetně pokynů, které implementují funkci/akt specifikovaný ve vývojovém diagramu a/nebo blokovém diagramu nebo blocích.
Instrukce počítačového programu mohou být také nahrány do počítače, jiného programovatelného zařízení pro zpracování dat nebo jiných zařízení, aby způsobily provedení řady operačních kroků na počítači, jiném programovatelném zařízení nebo jiných zařízeních za účelem vytvoření počítačem implementovaného procesu. tak, že instrukce, které se provádějí na počítači nebo jiném programovatelném zařízení, poskytují procesy pro implementaci funkcí/aktů specifikovaných ve vývojovém diagramu a/nebo blokovém diagramu nebo blocích.
Vývojový diagram a bloková schémata na obrázcích znázorňují architekturu, funkčnost a provoz možných implementací systémů, způsobů a produktů počítačových programů podle různých provedení předkládaného vynálezu. V tomto ohledu může každý blok ve vývojovém diagramu nebo blokových diagramech představovat modul, segment nebo část kódu, který obsahuje jednu nebo více spustitelných instrukcí pro implementaci specifikované logické funkce (funkcí). Je třeba také poznamenat, že v některých alternativních implementacích se funkce uvedené v bloku mohou vyskytovat mimo pořadí uvedené na obrázcích. Například dva bloky zobrazené za sebou mohou být ve skutečnosti prováděny v podstatě současně, nebo mohou být bloky někdy prováděny v opačném pořadí, v závislosti na zahrnuté funkčnosti. Je třeba také poznamenat, že každý blok blokového diagramu a/nebo ilustrace vývojového diagramu a kombinace bloků v blokovém diagramu a/nebo znázornění vývojového diagramu mohou být implementovány speciálními hardwarovými systémy, které provádějí specifikované funkce nebo úkony, nebo kombinace speciálního hardwaru a počítačových instrukcí.
Produkt počítačového programu může obsahovat všechny příslušné znaky umožňující implementaci zde popsané metodologie, a které – když jsou načteny do
počítačový systém – je schopen provádět metody. Počítačový program, softwarový program, program nebo software, v tomto kontextu znamená jakýkoli výraz v jakémkoli jazyce, kódu nebo notaci sady instrukcí, které mají způsobit, že systém se schopností zpracování informací vykonává určitou funkci buď přímo, nebo po jednom nebo po obou z následujících: (a) převod do jiného jazyka, kódu nebo zápisu; a/nebo (b) reprodukce v jiné hmotné formě.
Zde použitá terminologie slouží pouze pro účely popisu konkrétních provedení a není zamýšlena jako omezení vynálezu. Jak se zde používá, tvary jednotného čísla „a“, „an“ a „the“ mají zahrnovat také tvary v množném čísle, pokud z kontextu jasně nevyplývá něco jiného. Dále se rozumí, že výrazy „zahrnuje“ a/nebo „zahrnující“, když jsou použity v této specifikaci, specifikují přítomnost uvedených vlastností, celých čísel, kroků, operací, prvků a/nebo komponent, ale nevylučují přítomnost nebo přidání jednoho nebo více dalších znaků, celých čísel, kroků, operací, prvků, komponent a/nebo jejich skupin.
Odpovídající struktury, materiály, akty a ekvivalenty všech prostředků nebo prvků stupně plus funkce, pokud existují, v nárocích níže jsou zamýšleny tak, aby zahrnovaly jakoukoli strukturu, materiál nebo činnost pro provádění funkce v kombinaci s jinými nárokovanými prvky. jak se konkrétně tvrdí. Popis předkládaného vynálezu byl předložen pro účely ilustrace a popisu, ale není zamýšlen jako vyčerpávající nebo omezený na vynález ve zveřejněné formě. Odborníkům v oboru bude zřejmých mnoho modifikací a variací, aniž by došlo k odchýlení se od rozsahu a ducha vynálezu. Provedení bylo vybráno a popsáno, aby co nejlépe vysvětlilo principy vynálezu a praktickou aplikaci a umožnilo ostatním odborníkům v oboru porozumět vynálezu pro různá provedení s různými modifikacemi, které jsou vhodné pro konkrétní uvažované použití.
Různé aspekty tohoto popisu mohou být ztělesněny jako program, software nebo počítačové instrukce ztělesněné v počítači nebo stroji použitelném nebo čitelném médiu, které způsobí, že počítač nebo stroj provádějí kroky způsobu, když jsou vykonávány na počítači. , procesor a/nebo stroj. Je také poskytnuto programové paměťové zařízení čitelné strojem, hmatatelně ztělesňující program instrukcí spustitelných strojem pro provádění různých funkcí a způsobů popsaných v tomto popisu.
Systém a způsob podle předkládaného vynálezu mohou být implementovány a provozovány na univerzálním počítači nebo na speciálním počítačovém systému. Pojmy „počítač
systém“ a „počítačová síť“, jak mohou být použity v této přihlášce, mohou zahrnovat různé kombinace pevného a/nebo přenosného počítačového hardwaru, softwaru, periferií a úložných zařízení. Počítačový systém může zahrnovat množství jednotlivých komponent, které jsou propojeny sítí nebo jinak propojeny, aby fungovaly společně, nebo může zahrnovat jednu nebo více samostatných komponent. Hardwarové a softwarové komponenty počítačového systému této přihlášky mohou zahrnovat a mohou být součástí pevných a přenosných zařízení, jako je stolní počítač, laptop a/nebo server. Modul může být součástí zařízení, softwaru, programu nebo systému, který implementuje nějakou „funkci“, která může být ztělesněna jako software, hardware, firmware, elektronické obvody atd.
Ačkoli byla popsána specifická provedení předkládaného vynálezu, bude odborníkům v oboru zřejmé, že existují další provedení, která jsou ekvivalentní popsaným provedením. V souladu s tím je třeba chápat, že vynález není omezen konkrétními znázorněnými provedeními, ale pouze rozsahem připojených nároků.
KONCEPCE
Koncepce 1. Systém kryptoměny obsahující: jeden nebo více procesorů; a paměť ukládající spustitelné instrukce, které, jsou-li vykonávány jedním nebo více procesory, konfigurují systém kryptoměny tak, aby: komunikoval se zařízením uživatele; přijímat data o tělesné aktivitě, která jsou generována na základě tělesné aktivity uživatele, přičemž tělesná aktivita je snímána senzorem komunikačně připojeným k nebo obsaženým v zařízení uživatele; ověřit, zda údaje o tělesné aktivitě uživatele splňují jednu nebo více podmínek stanovených systémem kryptoměn; a udělit kryptoměnu uživateli, jehož údaje o tělesné aktivitě jsou ověřeny.
Koncepce 2. Systém kteréhokoli předchozího a/nebo následujícího Konceptu (konceptů), kde tělesná aktivita snímaná senzorem zahrnuje alespoň jednu z tělesných radiací emitovaných uživatelem, proudění tělesných tekutin, mozkové vlny, tepovou frekvenci nebo vyzařování tělesného tepla.
Koncepce 3. Systém libovolné předchozí a/nebo následující koncepce (koncepcí), kde jedna nebo více podmínek je nastaveno na základě množství aktivity lidského těla spojené s úkolem, který je poskytnut zařízení uživatele.
Koncepce 4. Systém libovolné předchozí a/nebo následující koncepce, kde jedna nebo více podmínek obsahuje podmínku, že data o tělesné aktivitě představují, že uživatel provádí úkol poskytnutý zařízení uživatele.
Koncepce 5. Systém libovolného předchozího a/nebo následujícího Konceptu (konceptů), kde údaje o tělesné aktivitě jsou generovány pomocí hašovacího algoritmu převádějícího aktivitu lidského těla na šifrovaný výstup a generovaná data o tělesné aktivitě obsahují hash snímaná tělesná aktivita uživatele.
Koncepce 6. Systém libovolné předchozí a/nebo následující koncepce (konceptů), kde data o tělesné aktivitě obsahují jeden nebo více vektorů vytvořených z tělesné aktivity snímané senzorem.
Koncepce 7. Systém jakéhokoli předchozího a/nebo následujícího Konceptu (konceptů), kde jedna nebo více podmínek zahrnuje podmínku, že hash tělesné aktivity zahrnuje opakované vzorce nebo matematickou vlastnost nastavenou systémem kryptoměn.
Koncept 8. Systém libovolného předchozího a/nebo následujícího konceptu (konceptů), kde systém kryptoměn přiděluje uživateli kryptoměnu vygenerováním bloku pro udělenou kryptoměnu a přidáním bloku do blockchainu uloženého v systému kryptoměn .
Koncept 9. Systém libovolného předchozího a/nebo následujícího konceptu (konceptů), kde blok obsahuje data obsahující: úkol poskytnutý zařízení uživatele; informace o udělené kryptoměně; hash spojený s aktivitou těla; a hash předchozího bloku.
Koncepce 10. Systém libovolné předchozí a/nebo následující koncepce (konceptů), kde úkol poskytovaný zařízení uživatele obsahuje test pro ověření, zda je uživatel zařízení člověk nebo ne.
Koncept 11. Systém libovolného předchozího a/nebo následujícího Konceptu (konceptů), kde je systém kryptoměn nakonfigurován tak, aby: přijímal ze zařízení uživatele data tělesné aktivity generované před použitím hashovacího algoritmu a hash tělesné aktivity; přehodnoťte data o aktivitě těla; a porovnat znovu hašovaná data s hashem tělesné aktivity přijatým ze zařízení uživatele pro ověření dat o tělesné aktivitě.
Koncepce 12. Počítačem implementovaný způsob, zahrnující: přijímání, zařízením uživatele připojeného k síti, úkolu přes síť; snímání tělesné aktivity uživatele prostřednictvím senzoru komunikačně spojeného se zařízením uživatele nebo v něm obsaženého; generování dat tělesné aktivity na základě snímané tělesné aktivity uživatele; ověření prostřednictvím systému kryptoměny, který je komunikačně propojen se zařízením uživatele, zda data o tělesné aktivitě splňují jednu nebo více podmínek stanovených systémem kryptoměny; a přidělování kryptoměny systémem kryptoměny uživateli, jehož údaje o tělesné aktivitě jsou ověřeny.
Koncepce 13. Způsob podle kteréhokoli předchozího a/nebo následujícího Konceptu (konceptů), kde tělesná aktivita snímaná senzorem zahrnuje alespoň jednu z tělesných radiací emitovaných uživatelem, proudění tělesných tekutin, mozkové vlny, tepovou frekvenci nebo vyzařování tělesného tepla.
Koncept 14. Způsob podle kteréhokoli předchozího a/nebo následujícího Konceptu (konceptů), kde jedna nebo více podmínek je nastaveno systémem kryptoměny na základě množství aktivity lidského těla spojené s úkolem poskytnutým zařízení uživatel.
Koncepce 15. Metoda libovolného předchozího a/nebo následujícího konceptu (konceptů), kde ověření, zda data o tělesné aktivitě splňují jednu nebo více podmínek, zahrnuje určení, zda data o tělesné aktivitě představují, že uživatel provádí úkol poskytnutý zařízení uživatele.
Koncepce 16. Metoda libovolného předchozího a/nebo následujícího konceptu (konceptů), kde ověření, zda údaje o tělesné aktivitě splňují jednu nebo více podmínek, zahrnuje stanovení, zda údaje o tělesné aktivitě představují více než množství tělesné aktivity. nastaveno systémem kryptoměn.
Koncepce 17. Způsob podle kteréhokoli předchozího a/nebo následujícího Konceptu (konceptů), kde údaje o tělesné aktivitě jsou generovány pomocí hašovacího algoritmu převádějícího aktivitu lidského těla na šifrovací výstup a generovaná data o tělesné aktivitě zahrnují hash snímaná tělesná aktivita uživatele.
Koncept 18. Způsob podle kteréhokoli předchozího a/nebo následujícího konceptu (konceptů), kde data o tělesné aktivitě obsahují jeden nebo více vektorů vytvořených z tělesné aktivity snímané senzorem.
Koncepce 19. Metoda libovolného předchozího a/nebo následujícího konceptu (konceptů), kde ověření, zda data o tělesné aktivitě splňují jednu nebo více podmínek stanovených systémem kryptoměn, zahrnuje určení, zda hash snímané tělesné aktivity zahrnuje opakované vzory nebo matematická vlastnost nastavená systémem kryptoměn.
Koncept 20. Způsob podle kteréhokoli předchozího a/nebo následujícího Konceptu (konceptů), kde udělení kryptoměny zahrnuje generování, systémem kryptoměny, bloku pro udělenou kryptoměnu a přidání generovaného bloku do blockchainu uloženého v kryptoměnový systém.
Koncept 21. Způsob podle kteréhokoli předchozího a/nebo následujícího konceptu (konceptů), kde blok obsahuje data obsahující: úkol poskytnutý zařízení uživatele; informace o udělené kryptoměně; generovaný hash spojený s aktivitou těla; a hash předchozího bloku.
Koncept 22. Způsob podle kteréhokoli předchozího a/nebo následujícího konceptu (konceptů), kde úkol obsahuje test pro ověření, zda uživatel zařízení je nebo není člověk.
Koncept 23. Způsob kteréhokoli předchozího a/nebo následujícího konceptu (konceptů),
dále zahrnující: přijímání, prostřednictvím systému kryptoměn, ze zařízení uživatele, dat tělesné aktivity generované před použitím hashovacího algoritmu a hash tělesné aktivity; přehodnocování dat o tělesné aktivitě systémem kryptoměn; a porovnání, pomocí systému kryptoměn, znovu zahašovaných dat s hashem tělesné aktivity přijatým ze zařízení uživatele pro ověření dat tělesné aktivity.
Koncepce 24. Zařízení obsahující: jeden nebo více procesorů komunikativně spojených se senzorem, přičemž senzor je konfigurován pro snímání tělesné aktivity uživatele; a paměť ukládající spustitelné instrukce, které, pokud jsou vykonávány jedním nebo více procesory, konfigurují zařízení pro: přijímání úlohy; generování dat tělesné aktivity na základě snímané tělesné aktivity uživatele, přičemž snímaná tělesná aktivita je spojena s přijatým úkolem; a přenášet vygenerovaná data o tělesné aktivitě do systému nebo sítě, která ověřuje data o tělesné aktivitě pro udělení kryptoměny.
Koncepce 25. Systém libovolného předchozího a/nebo následujícího Konceptu (konceptů), kde tělesná aktivita snímaná senzorem zahrnuje alespoň jednu z tělesných radiací emitovaných uživatelem, proudění tělesných tekutin, mozkové vlny, tepovou frekvenci nebo vyzařování tělesného tepla.
Koncepce 26. Systém libovolného předchozího a/nebo následujícího Konceptu (konceptů), kde data o tělesné aktivitě jsou generována pomocí hašovacího algoritmu převádějícího aktivitu lidského těla na šifrovací výstup.
Koncepce 27. Systém libovolné předchozí a/nebo následující koncepce (konceptů), kde data o tělesné aktivitě obsahují jeden nebo více vektorů vytvořených z tělesné aktivity snímané senzorem.
Koncept 28. Systém libovolného předchozího a/nebo následujícího konceptu (konceptů), kde data o tělesné aktivitě jsou generována vytvořením jednoho nebo více vektorů z tělesné aktivity snímané senzorem a zakódováním jednoho nebo více vektorů.







No nejsem rozhodně žádná odbornice přes virtuální měnu ani přes počítače, ale celý tento patent na mě v kontextu dnešní doby působí značně zlověstně, ovšem svůj názor nechť si každý udělá sám.
Zdroj: https://patentscope.wipo.int/search/en/detail.jsf?docId=US291464337&_fid=WO2020060606









Napsat komentář